北京克佩科技有限公司
首页
企业简介
产品大全
联系我们
企业信息
访客留言
产品列表
PRODUCT
----------------
现货供应神视光电传感器CX-411系列 高精度工业自动化检测解决方案
原装全新奥托尼克斯BYS500-TDT1,2光电传感器 性能解析与应用场景
光电传感器的革新应用 探索SKY-E FR系列光电开关的卓越性能
PM12TE与PM12TNB光电传感器 特性、区别与应用解析
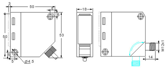
光电传感器 机械工业自动化的关键感知元件
欧姆龙E3S-R86光电传感器 工业自动化中的可靠检测解决方案
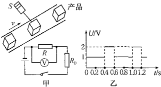
光电传感器在自动化生产线计数中的应用原理分析
PM12TE与PM12TNB光电传感器 特性、应用与选型指南
中国经济向前“进”丨小小传感器如何撬动整条产业链发展大杠杆——光电传感器的产业赋能之路
供应Autonics透过型光电传感器 电子元器件领域的精准感知解决方案
江苏一季度民营企业进出口创新高,光电传感器产业驱动强劲增长
信可通讯 以一体化解决方案赋能物联网行业应用,即将亮相iote2020深圳国际物联网展
如若转载,请注明出处:http://www.qsdfr.com/product/list-2.html
第一页
上一页
1
2